VIP设置
相关说明
对于使用来说,最复杂的估计就是VIP用户组的设置了,这里只推荐一种设置,即免费用户和游客默认全部视频为试看,购买VIP或者部分限时免费观看全部。
设置步骤
提示:对于用户组看起来很懵逼的,跟着做就行了。
设置普通用户组
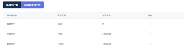
点击EFV后台左侧 ⇒ 用户相关 ⇒ 用户组设置,点击添加用户组,先设置普通用户组,规则如下:
1、如果你转码的分辨率为720P和1080P,则还需要加一个比这2个更低的分辨率用户组,比如480P;则此时我需要设置480、720、1080的普通用户组。
2、新建普通用户组的时候给最低分辨率的用户组积分设置0,其它分辨率设置1000000积分;即480为0、720和1080为1000000积分。
3、新建用户组的顺序为倒叙,从最高分辨率开始新建,比如依次给1080、720、480新建用户组。
图片可参考:

设置VIP会员用户组
点击EFV后台左侧 ⇒ 用户相关 ⇒ 用户组设置,设置一个付费用户组,观看权限选择原画,图片参考:

再点击EFV后台左侧 ⇒ 用户相关 ⇒ 积分购买VIP设置,点击添加付费购买,选择刚刚建的付费用户组,分别设置所有天数的购买信息,图片参考:

开启试看
点击EFV后台左侧 ⇒ CMS相关 ⇒ CMS设置,打开开启试看,然后设置好试看时长,如果是长视频可以设置600s,或者300s。
到这里基本设置完成了,上面规则效果为,游客、新注册的用户均只能看一定时长的视频;或者只能看限时免费的视频完整版。如果想看全部视频的完整版,就需要购买VIP用户组。
注意事项
提示:以下错误解决,只推荐没多少用户,或者刚开始起步的时候操作,基本上都是清空某项数据达到解决问题。
建议在使用之前就编辑好VIP等用户组,这时候可以随便编辑、删除用户组,修改完成并正式使用后,不要乱改用户组,否则会出现问题。
操作后遇到后台用户管理打开报错
使用SSH客户端登录服务器,使用命令:
#依次输入以下命令
mongo
use ffmpeg
db.users.drop()
操作后遇到后台订单管理打开报错
使用SSH客户端登录服务器,使用命令:
#依次输入以下命令
mongo
use ffmpeg
db.items.drop()
操作后遇到后台积分购买VIP设置打开报错
#依次输入以下命令
mongo
use ffmpeg
db.vipbuys.drop()